广东夜猫子品茶论坛,逍遥阁qm论坛,北京51龙凤茶楼论坛入口,51论坛官网

欢迎来到浙江以法他阀门有限公司!

网站地图|联系我们

锻钢波纹管阀门当前位置:首页锻钢波纹管阀门

锻钢波纹管闸阀class 800Lb

发布日期:[2018-08-13]     点击率:
锻钢波纹管闸阀class 150-600lb 锻钢波纹管闸阀class 800Lb Y型锻钢波纹管截止阀class 800lb

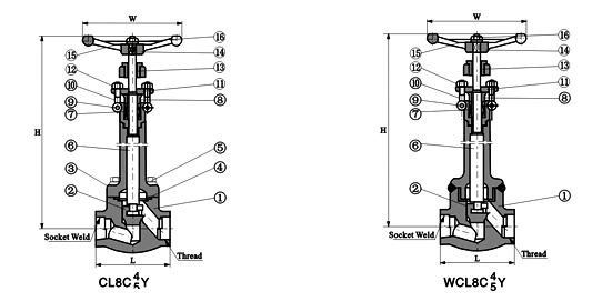
锻钢波纹管闸阀

标准材质细表


序号

零件名称

CStoASTM

AStoASTM

SStoASTM

A105

A182F22

A182F304L

A182F316L

1

阀体

A105

A182F22

A182F304L

A182F316L

2

阀瓣

A276420

A276304

A276304L

A276316L

3

阀杆

A182F6

A182F304

A182F304L

A182F316L


波纹管

SS

4

垫片

316夹柔性石墨

316夹PTFE

5

阀盖

A105

A182F22

A182F304L

A182F316L

6

螺栓

A193B7

A193B16

A193B8

A193B8M

7

填料

柔性石墨

PTFE

8

填料压套

A276420

A182F304

10

填料压板

A216WCB

A351CF8

12

阀杆螺母

A276420


手轮

A197

13

锁紧螺母

A1942H

A1944

A1948

A1948M


销钉

A276420

A182F304


活节螺栓

A193B7

A193B16

A193B8

A193B8M


螺母

A1942H

A1944

A1948

A1948M


垫圈

SS

14

铭牌

SS

适用介质

水、蒸汽、油品等

水、蒸汽、油品等

硝酸、醋酸等

适用温度

—29℃~425℃

—29℃~550℃

—29℃~200℃


注意:客户需求的其他材质也可采用.密封面材料配对客户指定内件代号决定

CS=碳钢;AS=合金钢;SS=不锈钢;

尺寸MM和重量KG


NPS

缩径

3/8"

1/2"

3/4"

1"

11/4"

11/2"

2"

全径


3/8"

1/2"

3/4"

1"

11/4"

11/2"

L1

79

79

92

111

120

120

140

L

79

79

92

111

120

152

172

H开

220

220

225

244

321

321

347

W

100

100

100

125

160

160

180

重量

螺栓式

3.2

3.0

4.8

7.9

11.0

16.8

25.2

焊接式

3.0

2.8

4.8

7.0

9.6

13.5

20.25


锻钢阀门相关资讯

浙江以法他阀门有限公司专业生产锻钢阀门,锻钢闸阀,锻钢截止阀产品广泛应用于石油、化工、冶金、电力、军工、造纸、及工程配套行业,愿与天下有识之士一起,为中国阀门工业的腾飞和进步做出更大的贡献!

锻钢闸阀的注意事项

锻钢阀门的优点和原理

锻钢阀门会出现的问题

其他锻钢阀门知识

产品展示

锻钢阀门
通用阀门
全焊接球阀系列

欢迎您与我们联系

13777712111