
| |
![]() |
|
自密封锻钢闸阀class 900Lb~2500lb 、工作温度 -29~425℃(碳钢)或 -29~500℃(不锈钢)的小口径管路上,用于截断或接通管路中的介质,选用不同的材质,可分别适用于水、蒸汽、油品、硝酸、醋酸、氧化性介质、尿素等多种介质。

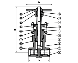
标准材质明细表
| 序号 | 零件名称 | CStoASTM | AStoASTM | SStoASTM | |
| A105 | F22 | F304(L) | F316(L) | ||
| 1 | 阀体 | A105 | A182F22 | A182F304(L) | A182F316(L) |
| 2 | 阀座 | A276420 | A276304 | A276304(L) | A276316(L) |
| 3 | 闸板 | A182F430&410 | A182F304 | A182F304(L) | A182F316(L) |
| 4 | 阀杆 | A182F6 | A182F304 | A182F304(L) | A182F316(L) |
| 5 | 密封螺母 | A105 | A182F304 | A182F304(L) | F316(L) |
| 6 | 密封环 | A216 304L | A276316L | ||
| 7 | 阀盖 | A105 | A182F22 | A182F304(L) | A182F316(L) |
| 8 | 活节螺栓 | A193B7 | A193B16 | A193B8(M) | |
| 9 | 销钉 | A276F420 | A182F304(L) | ||
| 10 | 填料 | 柔性石墨 | PTFE | ||
| 11 | 提升螺栓 | A1942H | A1944 | A1948 | A1948M |
| 12 | 填料压套 | A276F420 | A182F304 | ||
| 13 | 填料压板 | A216WCB | A182F304 | ||
| 14 | 螺母 | A1942H | A1944 | A1948 | A1948M |
| 15 | 阀杆螺母 | A276-410 | |||
| 16 | 固定螺母 | A1942H | A1944 | A1948 | A1948M |
| 17 | 手轮 | A197 | |||
| 18 | 锁紧螺母 | A1942H | A1944 | A1948 | A1948M |
| 19 | 油嘴 | 铜 | |||
| 适用介质 | 水、蒸汽、油品等 | 水、蒸汽、油品等 | 硝酸、醋酸等 | ||
| 适用温度 | —29℃~425℃ | —29℃~550℃ | —29℃~200℃ | ||
注意:客户需求的其他材质也可采用.密封面材料配对客户指定内件代号决定
CS=碳钢;AS=合金钢;SS=不锈钢;
尺寸(MM)和重量(KG)
| NPS | 1/2" | 3/4" | 1" | 11/4" | 11/2" | 2" | |
| L | 900Lb-150Lb | 140 | 140 | 140 | 178 | 178 | 216 |
| 2500Lb | 186 | 186 | 186 | 232 | 232 | 279 | |
| H(开) | 321 | 321 | 321 | 380 | 414 | 502 | |
| W | 160 | 160 | 180 | 200 | 250 | 280 | |
| 重量 | 900LB-1500LB | 11.5 | 10.8 | 10.5 | 19.6 | 21.0 | 55.4 |
| 2500LB | 12.3 | 11.6 | 10.8 | 26.0 | 28.4 | 60.0 | |
浙江以法他阀门有限公司专业生产锻钢阀门,锻钢闸阀,锻钢截止阀产品广泛应用于石油、化工、冶金、电力、军工、造纸、及工程配套行业,愿与天下有识之士一起,为中国阀门工业的腾飞和进步做出更大的贡献!