
| |
![]() |
|
自密封锻钢截止阀应用规范 1、设计制造:按ANSI B16.34;API602 2、连接端尺寸 自密封截止阀 (1)承插孔尺寸按ANSI B16.11,JIS B2306 (2)螺纹端尺寸按ANSI B1.20.1:BS21:JIS BO203:S107/1 3、阀门检验和试验:按API 598

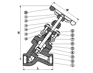
标准材质细表
| 序号 | 零件名称 | CStoASTM | AStoASTM | SStoASTM | |
| A105 | F22 | F304(L) | F316(L) | ||
| 1 | 阀体 | A105 | A182F22 | A182F304(L) | A182F316(L) |
| 2 | 阀瓣 | A276420 | A276304 | A276304(L) | A276316(L) |
| 3 | 阀杆 | A182F6 | A182F304 | A182F304(L) | A182F316(L) |
| 4 | 垫片 | 316夹柔性石墨 | 316夹PTFE | ||
| 5 | 阀盖 | A105 | A276 304 | A182F304(L) | A182F316(L) |
| 6 | 螺栓 | A193B7 | A193B16 | A193B8 | A193B8M |
| 7 | 填料 | 柔性石墨 | PTFE | ||
| 8 | 填料压套 | A276410 | A182F304(L) | A182F316(L) | |
| 9 | 填料压板 | A216WCB | A351CF8 | ||
| 10 | 手轮 | A197 | |||
| 11 | 铭牌 | SS | |||
| 12 | 螺母 | A1942H | A1944 | A1948 | A1948M |
| 13 | 阀杆螺母 | A276410 | |||
| 14 | 螺母 | A1942H | A1944 | A1948 | A1948M |
| 15 | 活节螺栓 | A193B7 | A193B16 | A193B8 | A193B8M |
| 16 | 销钉 | 柔性石墨 | PTFE | ||
| 适用介质 | 水、蒸汽、油品等 | 水、蒸汽、油品等 | 硝酸、醋酸等 | ||
| 适用温度 | —29℃~425℃ | —29℃~550℃ | —29℃~200℃ | ||
注意:客户需求的其他材质也可采用.密封面材料配对客户指定内件代号决定
CS=碳钢;AS=合金钢;SS=不锈钢;
尺寸(MM)和重量(KG)
| NPS | 1/2" | 3/4" | 1" | 11/4" | 11/2" | 2" |
| L | 98 | 111 | 120 | 140 | 140 | 170 |
| H(开) | 175 | 215 | 254 | 305 | 305 | 365 |
| W | 100 | 125 | 160 | 160 | 180 | 200 |
| 重量 | 5 | 6.3 | 7.6 | 9.8 | 13.8 | 14.0 |
浙江以法他阀门有限公司专业生产锻钢阀门,锻钢闸阀,锻钢截止阀产品广泛应用于石油、化工、冶金、电力、军工、造纸、及工程配套行业,愿与天下有识之士一起,为中国阀门工业的腾飞和进步做出更大的贡献!